Paciente Femenino de 65 años de edad es referida a DMI para evaluación tomográfica mediante Cone Beam; con el objetivo de identificar una historia de infección respiratoria de vía aérea superior post exodoncia de 30
días de evolución, acompañando de dolor en la zona dentoalveolar en el segundo
cuadrante, alteración en el sonido nasal, dolor facial del lado izquierdo, cefaleas
intensas intermitentes, secreción purulenta nasal, tos durante la noche y dolor en la zona
infraorbitaria del lado izquierdo.
Es evidente que al evaluar la radiografía panorámica se observa opacificación parcial y neumatización alveolar del seno maxilar izquierdo, borramiento parcial del piso de este a nivel del Od 27.
Mediante
cortes axiales en un barrido desde inferior a superior se evidencia senos paranasales conservados en apariencia,
sus corticales óseas tienen densidad tomográfica homogénea, sin lesiones
líticas, ni osteogénicas, en contraste el seno maxilar derecho con presencia de engrosamiento de la mucosa antral.
El seno maxilar izquierdo ocupado de contenido isodenso.
Cortes axiales que evidencian meatos inferiores con contenido isodenso, seno maxilar derecho sin contenido isodenso, El seno maxilar izquierdo ocupado casi en su totalidad por contenido isodenso.
Cortes axiales más superiores que los anteriores donde se puede identificar claramente que las celdillas etmoidales anteriores y medias del lado izquierdo ocupadas de contenido isodenso.
Al hacer barrido mediante cortes coronales de anterior a posterior es evidente seno maxilar izquierdo ocupado con contenido isodenso, en contraste lado derecho permeable.

Cortes coronales más posteriores que los anteriores donde podemos identificar que el contenido isodenso del seno maxilar izquierdo es parcial.
En los cortes coronales más posteriores que los anteriores evidenciamos la comunicación del seno maxilar con el meato medio del lado izquierdo, la relación con el cornete medio y el compromiso del complejo osteomeatal del lado izquierdo, contrastando con la permeabilidad en el lado derecho
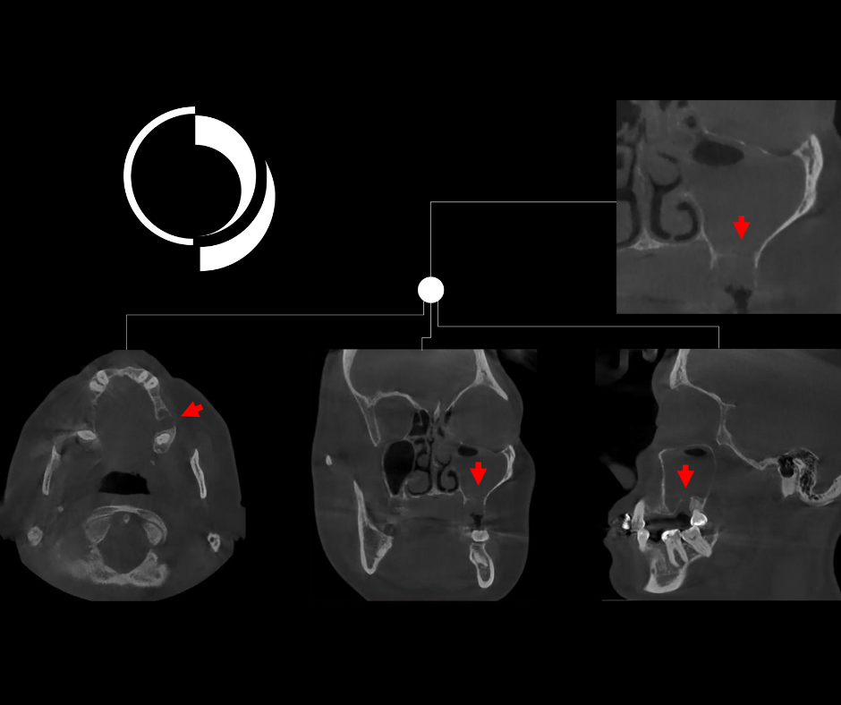
En las vistas transaxiales se ilustra la comunicación bucosinusal, solución de continuidad de la basal antral, sin evidencia de cuerpos extraños.
Corte transaxial que muestra la solución de continuidad de la basal antral.
Cortes multiplanares que nos evidencian la solución de continuidad de la basal antral, el ocupamiento del seno maxilar izquierdo comparado con la permeabilidad contralateral y la comunicación buco sinusal.
Conclusión. Sinusitis odontogénica post extracción.
Paráfrasis.La sinusitis odontogénica afecta la mucosa de los senos maxilares y puede ser causada por la evolución de una infección dental o incluso una lesión pos-extracción, con formación de pus periapical que avanza al interior de la cavidad sinusal. En general, las raíces de los premolares y molares se encuentran inmediatamente por debajo del piso del seno maxilar, lo que favorece la relación entre una patología en estos dientes y la sinusitis. El diagnóstico de la sinusitis odontogénica incluye interrogatorio detallado, un examen físico minucioso y diagnostico por imágenes como Waters, lateral de cráneo, panorámica, oclusal y periapical; aunque, los avances recientes en imagenología odontológica indican el uso de Tomografía 3D Cone Beam, por la calidad de imagen y reducción en las dosis de radiación para el paciente.
Referencias.
_Nair, U. P. & Nair, M. K. Maxillary sinusitis of odontogenic origin: Cone-beam volumetric computerized tomographyaided diagnosis. Oral Surg. Oral Med. Oral Pathol. Oral Radiol. Endod., 110(6):e53-7, 2010.
_Melén I, Lindahl L, Andréasson L, Rundcrantz H. Chronic maxillary sinusitis: Definition, diagnosis and relation to dental infections and nasal polyposis. Acta Otolaryngol 1986; 101: 320-7.
_Shahbazian M, Jacobs R. Diagnostic value of 2D and 3D imaging in odontogenic maxillary sinusitis: A review of literature. J Oral Rehabil 2012; 39: 294-300.
_Biafora M, Bertazzoni G, Trimarchi M. Maxillary sinusitis caused by dental implants extending into the maxillary sinus and the nasal cavities. J Prosthodont 2014; 23: 227-231.
Contacto.
Dr. Victor Pardo Juárez
Radiólogo Oral y Maxilofacial
Universidad Científica del Sur. Lima, Perú.
drvictorpardo@gmail.com
Este blog tiene como objetivo brindar información a odontólogos y pacientes sobre las diversas técnicas de radiología utilizadas en odontología y sus especialidades; ya que podrá ayudarlo a tomar una decisión mejor informada; pero en ningún caso, las opiniones aquí vertidas o los casos presentados sustituyen al diagnóstico clínico de un profesional calificado, ya que son meramente orientativas e informativas.
No hay comentarios:
Publicar un comentario